Panda
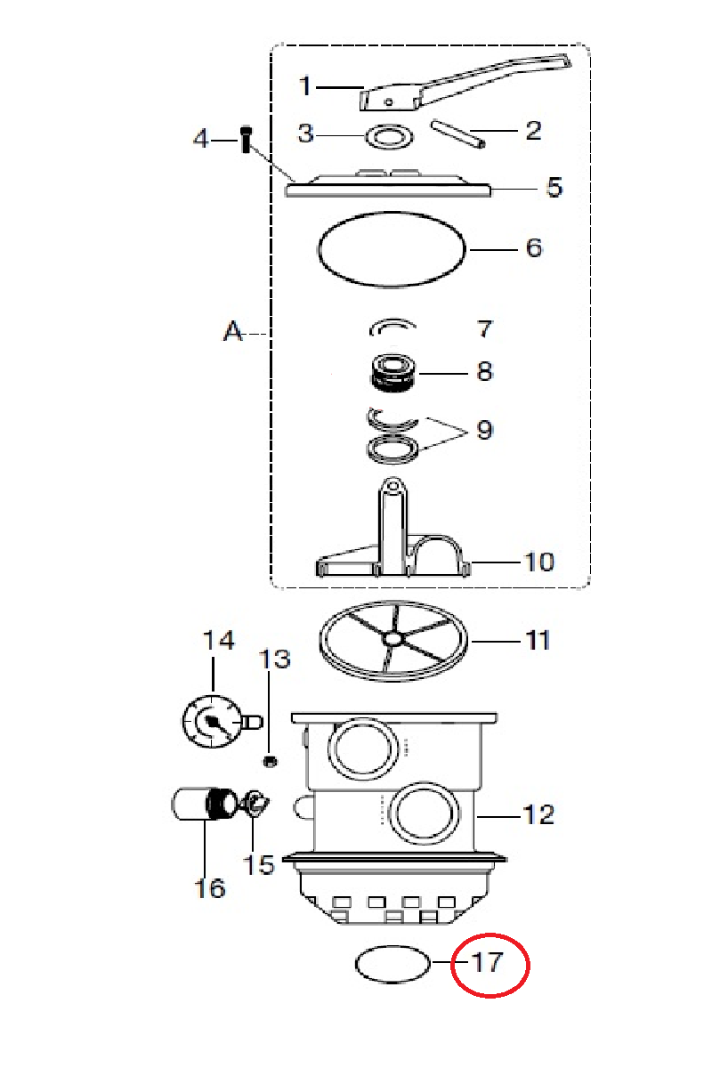
Empaque Oring Valvula Filtro Arena Panda 28"
Empaque Oring Valvula Filtro Arena Panda 28"
Precio habitual
$ 220.00 MXN
Precio habitual
Precio de oferta
$ 220.00 MXN
Precio unitario
/
por
Los gastos de envío se calculan en la pantalla de pago.
No se pudo cargar la disponibilidad de retiro
EMPAQUE ORING DE SUJECION DE VALVULA SUPERIOR MULTIPUERTOS DE FILTRO DE ARENA MARCA PANDA
Producto compatible con:
- Válvula Superior de Filtro de arena Panda 28" Modelo FPD28T
CARACTERISTICAS:
- Marca: Panda
- Producto 100% original
- Incluye: 1 empaque
- En la imagen numero 3 de esta publicación se muestra la ubicación del empaque.
Compartir
